Nginx 五大常见应用场景,Linux运维请收藏~
来源: | 作者:三网IT教育 | 发布时间: 1890天前 | 1253 次浏览 | 🔊 点击朗读正文 ❚❚ | 分享到:
高效运维~




Nginx 是一个很强大的高性能 Web 和反向代理服务,它具有很多非常优越的特性,在连接高并发的情况下,Nginx 是 Apache 服务不错的替代品。

其特点是占有内存少,并发能力强,事实上 nginx 的并发能力在同类型的网页服务器中表现较好,因此国内知名大厂例如:淘宝,京东,百度,新浪,网易,腾讯等等都在使用 Nginx 网站。

在我们的日常工作学习中,我们会该如何去优化自己的 Nginx 服务器?遇到以下问题我们该如何处理呢?


一、自定义返回客户端的404错误页面

1)优化前,客户端使用浏览器访问不存在的页面,会提示404文件未找到

# firefox http://192.168.4.5/xxxxx //
访问一个不存在的页面

2)修改 Nginx 配置文件,自定义报错页面

[root@proxy ~]# vim
/usr/local/nginx/conf/nginx.conf

.. ..
charset utf-8;                   
//仅在需要中文时修改该选项

error_page   404  /404.html;   
//自定义错误页面

.. ..
# vim /usr/local/nginx/html/404.html 
//生成错误页面

Oops,No NO no page

# nginx -s reload
# 请先确保 nginx 是启动状态,否则运行该命令会报错,报错信息如下:
#[error] open()
"/usr/local/nginx/logs/nginx.pid"
failed (2: No such file or directory)

3)优化后,客户端使用浏览器访问不存在的页面,会提示自己定义的 40x.html 页面
# firefox http://192.168.4.5/xxxxx //
访问一个不存在的页面

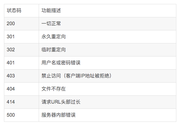
常见的 http 状态码可用参考表所示


二、查看服务器状态信息

1)编译安装时使用
--with-http_stub_status_module开启状态页面模块

# tar -zxvf nginx-1.12.2.tar.gz
# cd nginx-1.12.2
# ./configure   
> --with-http_ssl_module           
//开启SSL加密功能

> --with-stream                   
//开启TCP/UDP代理模块

> --with-http_stub_status_module   
//开启status状态页面

# make && make install             
//编译并安装

2)启用 Nginx 服务并查看监听端口状态
ss 命令可以查看系统中启动的端口信息,该命令常用选项如下:
-a 显示所有端口的信息
-n 以数字格式显示端口号
-t 显示TCP连接的端口
-u 显示UDP连接的端口
-l 显示服务正在监听的端口信息,如httpd启动后,会一直监听80端口
-p 显示监听端口的服务名称是什么(也就是程序名称)

注意:在 RHEL7 系统中可以使用ss命令替代 netstat 命令,功能一样,选项一样。

# /usr/local/nginx/sbin/nginx
# netstat  -anptu  |  grep nginx
tcp        0        0 0.0.0.0:80       
0.0.0.0:*       
LISTEN       
10441/nginx

# ss  -anptu  |  grep nginx

3)修改 Nginx 配置文件,定义状态页面
# cat /usr/local/nginx/conf/nginx.conf
… …
location /status {
                stub_status on;
                 #allow IP地址;
                 #deny IP地址;
        }
… …
# /usr/local/nginx/sbin/nginx -s reload

4)优化后,查看状态页面信息
# curl  http://192.168.4.5/status
Active connections: 1 
server accepts handled requests
 10 10 3 
Reading: 0 Writing: 1 Waiting: 0
Active connections:当前活动的连接数量。
Accepts:已经接受客户端的连接总数量。
Handled:已经处理客户端的连接总数量。
(一般与accepts一致,除非服务器限制了连接数量)。
Requests:客户端发送的请求数量。
Reading:当前服务器正在读取客户端请求头的数量。
Writing:当前服务器正在写响应信息的数量。
Waiting:当前多少客户端在等待服务器的响应。

三、优化 Nginx 并发量

1)优化前使用ab高并发测试
# ab -n 2000 -c 2000 http://192.168.4.5/
Benchmarking 192.168.4.5 (be patient)
socket: Too many open files (24)               
//提示打开文件数量过多

2)修改 Nginx 配置文件,增加并发量
# vim /usr/local/nginx/conf/nginx.conf
.. ..
worker_processes  2;                   
//与CPU核心数量一致

events {
worker_connections 65535;       
//每个worker最大并发连接数

}
.. ..
# /usr/local/nginx/sbin/nginx -s reload

3)优化 Linux 内核参数(最大文件数量)
# ulimit -a                       
//查看所有属性值

# ulimit -Hn 100000               
//设置硬限制(临时规则)

# ulimit -Sn 100000               
//设置软限制(临时规则)

# vim /etc/security/limits.conf
    .. ..
*               soft    nofile            100000
*               hard    nofile            100000

#该配置文件分4列,分别如下:10.#用户或组    硬限制或软限制    需要限制的项目   限制的值

4)优化后测试服务器并发量(因为客户端没调内核参数,所以在proxy测试)
# ab -n 2000 -c 2000 http://192.168.4.5/

四、优化 Nginx 数据包头缓存

1)优化前,使用脚本测试长头部请求是否能获得响应
[root@proxy ~]# cat lnmp_soft/buffer.sh 
#!/bin/bash
URL=http://192.168.4.5/index.html?
for i in {1..5000}
do
    URL=${URL}v$i=$i
done
curl $URL                               
//经过5000次循环后,生成一个长的URL地址栏

[root@proxy ~]# ./buffer.sh
.. ..
<center><h1>414 Request-URI Too Large</h1></center>       
//提示头部信息过大

2)修改 Nginx 配置文件,增加数据包头部缓存大小
# vim /usr/local/nginx/conf/nginx.conf
... ..
http {
client_header_buffer_size    1k;       
//默认请求包头信息的缓存    

large_client_header_buffers  4 4k;       
//大请求包头部信息的缓存个数与容量

.. ..
}
# /usr/local/nginx/sbin/nginx -s reload

3)优化后,使用脚本测试长头部请求是否能获得响应
[root@proxy ~]# cat buffer.sh 
#!/bin/bash
URL=http://192.168.4.5/index.html?
for i in {1..5000}
do
    URL=${URL}v$i=$i
done
curl $URL
[root@proxy ~]# ./buffer.sh

五、浏览器本地缓存静态数据

1)使用Firefox浏览器查看缓存
以Firefox浏览器为例,在Firefox地址栏内输入about:cache将显示Firefox浏览器的缓存信息,如图所示,点击List Cache Entries可以查看详细信息。


2)清空firefox本地缓存数据,如图所示。


3)改Nginx配置文件,定义对静态页面的缓存时间
# vim /usr/local/nginx/conf/nginx.conf
server {
        listen       80;
        server_name  localhost;
        location / {
            root   html;
            index  index.html index.htm;
        }
location ~* .(jpg|jpeg|gif|png|css|js|ico|xml)$ {
expires        30d;           
//定义客户端缓存时间为30天

}
}
# cp /usr/share/backgrounds/day.jpg /usr/local/nginx/html
# /usr/local/nginx/sbin/nginx -s reload
#请先确保nginx是启动状态,否则运行该命令会报错,报错信息如下:
16.#[error] open() "
/usr/local/nginx/logs/nginx.pid"
failed (2: No such file or directory)

4)优化后,使用Firefox浏览器访问图片,再次查看缓存信息
# firefox http://192.168.4.5/day.jpg
在 firefox 地址栏内输入 about:cache,查看本地缓存数据,查看是否有图片以及过期时间是否正确。


专业 · 实力 ·  诚信· 价值


微信号:sannet-edu

官方网站:www.sannet.net

咨询热线:0512-82289966