高效运维丨Nginx 五大常见应用场景
来源: | 作者:三网IT教育 | 发布时间: 1911天前 | 1248 次浏览 | 🔊 点击朗读正文 ❚❚ | 分享到:
Linux运维收藏~



Nginx 是一个很强大的高性能 Web 和反向代理服务,它具有很多非常优越的特性,在连接高并发的情况下,Nginx 是 Apache 服务不错的替代品。

其特点是占有内存少,并发能力强,事实上 nginx 的并发能力在同类型的网页服务器中表现较好,因此国内知名大厂例如:淘宝,京东,百度,新浪,网易,腾讯等等都在使用 Nginx 网站。

在我们的日常工作学习中,我们会该如何去优化自己的 Nginx 服务器?遇到以下问题我们该如何处理呢?

一、自定义返回客户端的404错误页面

1)优化前,客户端使用浏览器访问不存在的页面,会提示404文件未找到



2)修改 Nginx 配置文件,自定义报错页面



3)优化后,客户端使用浏览器访问不存在的页面,会提示自己定义的 40x.html 页面



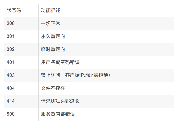
常见的 http 状态码可用参考表所示


二、查看服务器状态信息

1)编译安装时使用--with-http_stub_status_module开启状态页面模块



2)启用 Nginx 服务并查看监听端口状态

ss 命令可以查看系统中启动的端口信息,该命令常用选项如下:

-a 显示所有端口的信息

-n 以数字格式显示端口号

-t 显示TCP连接的端口

-u 显示UDP连接的端口

-l 显示服务正在监听的端口信息,如httpd启动后,会一直监听80端口

-p 显示监听端口的服务名称是什么(也就是程序名称)

注意:在 RHEL7 系统中可以使用ss命令替代 netstat 命令,功能一样,选项一样。



3)修改 Nginx 配置文件,定义状态页面



4)优化后,查看状态页面信息


Active connections:当前活动的连接数量。

Accepts:已经接受客户端的连接总数量。

Handled:已经处理客户端的连接总数量。

(一般与accepts一致,除非服务器限制了连接数量)。

Requests:客户端发送的请求数量。

Reading:当前服务器正在读取客户端请求头的数量。

Writing:当前服务器正在写响应信息的数量。

Waiting:当前多少客户端在等待服务器的响应。

三、优化 Nginx 并发量

1)优化前使用ab高并发测试



2)修改 Nginx 配置文件,增加并发量



3)优化 Linux 内核参数(最大文件数量)


4)优化后测试服务器并发量(因为客户端没调内核参数,所以在proxy测试)



四、优化 Nginx 数据包头缓存


1)优化前,使用脚本测试长头部请求是否能获得响应



2)修改 Nginx 配置文件,增加数据包头部缓存大小



3)优化后,使用脚本测试长头部请求是否能获得响应



五、浏览器本地缓存静态数据


1)使用Firefox浏览器查看缓存

以Firefox浏览器为例,在Firefox地址栏内输入about:cache将显示Firefox浏览器的缓存信息,如图所示,点击List Cache Entries可以查看详细信息。


2)清空firefox本地缓存数据,如图所示。


3)改Nginx配置文件,定义对静态页面的缓存时间



4)优化后,使用Firefox浏览器访问图片,再次查看缓存信息



在 firefox 地址栏内输入 about:cache,查看本地缓存数据,查看是否有图片以及过期时间是否正确。



专业 · 实力 ·  诚信· 价值


微信号:sannet-edu

官方网站:www.sannet.net

咨询热线:0512-82289966